破碎挖掘一體機
功能及特點:
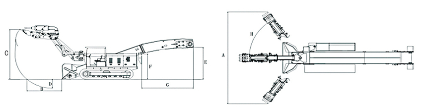
適用於斷麵為2.3×2.3米以上的巷道使用。設備在工作臂架上同時設有挖鬥和破碎錘,具備香蕉视频在线观看黄片的性能,破碎錘采用滑道移動,挖鬥挖掘工作時,可將破碎錘滑移收縮,能節省挖鬥與破碎錘互換時間。適用於破碎量大,裝載量小的巷道修複。具有結構緊湊、作業功效高、能耗低等優點,破碎、裝載一體作業。
工作示意圖:

工作範圍:

技術參數:

上一篇:已經是第一條了
下一篇:礦用雙齒輥破碎機